ΑρχικήΑΦΥΓΡΑΝΣΗ-ΥΓΡΑΝΣΗΑΦΥΓΡΑΝΣΗ-ΥΓΡΑΝΣΗΥΓΡΑΝΤΗΡΕΣΕΚΝΕΦΩΤΕΣ HYGROMATIK

ΕΚΝΕΦΩΤΕΣ HYGROMATIK

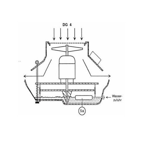
DG

  • Φυγοκεντρικοί εκνεφωτές χώρων.
  • Eύκολη εγκατάσταση στην οροφή του χώρου με κρέμαση.
  • Παράγει αχνή ομίχλη ατμού που κατανέμεται ομοιόμορφα  στο χώρο, με αποτέλεσμα τον άμεσο δροσισμό του χώρου.
  • Χαμηλή κατανάλωση ενέργειας και μηδενική απώλεια νερού.
  • Δυνατότητα ύγρανσης 4-8 l/h

Λεπτομέρειες

                    

Δείτε τον κατάλογο Δροσισμός-Ύγρανση-Αφύγρανση

DG Brochure

DG manual

Technical specifications - DG

 Αποδέχομαι τους όρους χρήσης

D-U-N-S Registered

Η εταιρεία είναι κάτοχος του Διεθνούς Πιστοποιητικού D-U-N-S Registered (Data Universal Numbering System), που την εντάσσει στην παγκόσμια λίστα δεδομένων της D&B με εταιρείες κύρους που προέρχονται από 220 χώρες.